Klimatizace
- Jemar
- Zkušený

- Příspěvky: 1699
- Registrován: 02.02.2008 03:18
- Bydliště: čáslavsko
Klimatizace
Psychická a fyzická pohoda je základní podmínkou dobrého pracovního výkonu, soustředěnosti a pohodlí. Každá pracovní povinnost vzhledem k fyzickému a psychickému zatížení klade nároky i na pracovní prostředí. Pracoviště řidiče, kokpit vozidla, barevnost a rozložení teploty, prašnost i nezanedbatelný vliv alergie na různé látky vyžaduje i úpravu toho to prostředí. Většině lidí vyhovuje teplota v rozmezí 22-27˚C. S tím závisí i ideální vlhkost vzduch v rozmezí 35-60%. A to vše nám řídí klimatizace. Extremní podmínky jako jsou hluk, prašnost a další negativní vlivy vedou ke zvýšení srdečního tepu, zvýšení tělesné teploty a to vše má pak za důsledek poceni, nervozitu atd. Důsledkem je únava, nesoustředěnost, ospalost, tedy faktory vedoucí ke snížení schopnosti soustředit se na výkon a v provozu motorových vozidel ke zvýšení nebezpečí dopravní kolize.
Klimatizace – anglicky „Air Condition“, odtud také označení ovladače „A/C“. Klimatizační systém přivádí do kabiny ochlazený vzduch. Vzduch je buď zvenku čerstvý, nebo je ochlazován (při zapnuté recirkulaci) vzduch z kabiny pro cestující. Chladící médium klimatizace v automobilech je plyn a funguje jako transportní prostředek pro odvod tepla. Od roku 1995 se smí používat pouze prostředek s označením R 134a.
R-134a (Tetrafluoretan) je používán jako náplň do klimatizací. Jedná se o nehořlavou látku, při i styku s ohněm se ale tvoří nebezpečné látky. V kapalném stavu je R134a čirá látka, v plynném skupenství pak neviditelná lehce eterického zápachu. Tato látka je v kapalném skupenství bezbarvá jako voda, ve skupenství plynném je neviditelná. Princip klimatizace ve vozidle je jednoduchý a velmi podobný ledničce. Aby se kabina ochladila, musí z ní být odebráno teplo. K tomu je zapotřebí chladící okruh, který se skládá z kompresoru, kondenzátoru, expanzního ventilu a výparníku. Popíšeme si celý oběh znázorněný na spodním obrázku.
Funkce klimatizace
Klimatizace se skládá z kompresoru, kondenzátoru, klapky, výparníku, zachycovací nádržky a tlakových vedení. Jako chladicí náplň se používá kapalina R134a. Kompresor klimatizace je poháněn klínovým řemenem od klikového hřídele. Kompresor zvyšuje tlak v chladícím okruhu na maximálně 3 MPa (30 bar). Stlačením se chladivo zahřeje. V kondenzátoru odebírá proudící vzduch z chladiva teplo (studený vzduch zůstává ve vnější oblasti). Ochlazuje tím horké chladivo, které kondenzuje, tedy zkapalní. Chladivo je pod vysokým tlakem a protéká klapkou, která redukuje jeho tlak. Chladivo expanduje a vypařuje se, a tím se znovu silně ochlazuje. Ve výparníku odebírá chladivo teplo od kolem proudícího vzduchu a vzduch se tak ochlazuje. Chladný a suchý vzduch je veden do vnitřku vozidla. Chladivo přijímá ve výparníku teplo a vypařuje se. Páry chladiva, které mají malý tlak, jsou nasávány kompresorem, kde znovu začíná chladící okruh. Zachycovací nádržka slouží jako expanzní nádržka a zásobní nádržka na chladivo.
Okruh klimatizace: Hlavní části:
• kompresor
• chladicí prostředek
• kondenzátor
• ventilátor
• výparník
• expanzní nebo škrtící ventil
• přípojka nízkého tlaku
• přípojka vysokého tlaku
• nádobka na kapalinu s vysoušečem
Základní komponenty klimatizace
Úkolem kompresoru je:
• čerpat chladivo do klimatického okruhu
• stlačovat chladivo
Kompresor je významnou součástí klimatizačního zařízení. Jeho úlohou je nasávat plynné chladící médium, které má nízký tlak, a toto médium stlačovat. Tím se jednak uvádí do pohybu, a také stoupá teplota chladícího prostředku. Bez zvýšení tlaku by nebyla možná následná expanze prostřednictvím expanzního nebo škrtícího ventilu a nedošlo by k ochlazení média. Je třeba si uvědomit, že kompresor nasává z výparníku v nízkotlaké větvi pouze plynný chladící prostředek. Tekutý by nebyl stlačitelný a ve svém důsledku by došlo ke zničení kompresoru. Okolnost, že kompresor stlačí chladící prostředek a dopravuje ho jako horký silně stlačený plyn do kondenzátoru, zároveň znamená, že kompresor je určitým rozhraním mezi větví nízkého a vysokého tlaku v klimatizačním systému.
Kompresor s kývavým kotoučem – nejvyužívanější typ kompresoru
Na připojeném obrázku je řez typickým kompresorem s axiálním kývavým kotoučem. Ten má šikmé postavení a je pevně spojen s kompresorovou hřídelí. Po obvodu kotouče jsou rovnoměrně od sebe horizontálně uložené válce s písty (zpravidla jich je 5-7). Počet válců a úhel jejich uspořádání závisí na zdvihovém objemu kompresoru. Kývavý kotouč převádí rotační pohyb hřídele kompresoru do vratného zdvihového pohybu pístu (oscilační pohyb). Ve ventilových destičkách se mezi válci a hlavou válce nalézají tzv. Reed -ventily pro sání a výtlak.
Bubnové kompresory mohou mít pevný nebo proměnný zdvihový objem. Proměnný objem snižuje do značné míry konvenční zapínání a vypínání magnetické spojky a z něho vyplývající spínací rázy. Kompresory s proměnným zdvihem mají tlakový regulační ventil. Ten registruje tlak na sací straně a reguluje čerpané množství chladicího prostředku změnou úhlu sešikmení kývaného kotouče. Popisované nejběžnější provedení kompresoru klimatizace v automobilu se dále rozděluje na dvě skupiny:
• Kompresory bez regulace
• Kompresory s automatickou regulací
Kompresor:
1. Kývavý kotouč
2. Hřídel kompresoru
3. Píst
4. Membránové ventily
5. Tlakový regulační ventil
Posledně jmenovaný kompresor se uplatňuje u klimatizací s vyšším komfortem, např. s automatickou regulací teploty. Díky regulovatelnému kompresoru je tlak v oběhu chladícího prostředku stálý, zcela bez ohledu na měnící se přenos tepla a rozdílné otáčky motoru. Kompresory, které nejsou automaticky regulovatelné, se při teplot výparníku kolem bodu mrazu, vypnou. Klimatizace s takovými kompresory mají jako dodatkové vybavení expanzní ventil.
Kompresor s automatickou regulaci
Používají se v komfortnějších klimatizačních systémech se škrtícím ventilem. Jak už bylo uvedeno, mají regulační ventil, proměnné nastavení (zešikmení kývavého kotouče) bubnu a tím proměnný zdvih pístu, který je dán šikmostí kývavého kotouče. Ten je veden podélně v kluznici. Šikmost nastavení kotouče (hnacího náboje je dána tlakem v komoře), tedy na poměrech tlaku na horní a spodní straně pístu, a řídí se pružinami před a za kotoučem. Tlak v komoře je ovlivňován vysokým a nízkým tlakem v systému s kalibrovaným a škrtícím otvorem.
Kompresor nebývá poháněn přímo motorem vozidla. Většinou jde o pohon řemenem přímo od klikové hřídele. Řemen pohání ještě zpravidla alternátor, čerpadlo servořízení a vodní čerpadlo. Kompresor je spínaný přes elektromagnetickou spojku.
Elektromagnetická spojka kompresoru
Při zapnutí klimatizace je přiveden proud do cívky. Ta vytvoří magnetické pole, které přitáhne na hřídeli kompresoru pevně uchycený unášecí kotouč k řemenici kompresoru. Kompresor se tak roztočí, resp. dojde ke spojení náhonu od motoru s kompresorem.
Když je pak klimatizace vypnuta a dojde k přerušení přívodu proudu do elektromagnetické cívky, přitažení unášecího kotouče povolí a kompresor se přestane točit. Vzduchová mezera kompresorové spojky se u některých provedení vymezuje distančními kroužky. Cívka je zajištěna zajišťovacím kroužkem. Velmi důležité je řádné mazání kompresoru. Pro mazání stěn válce je nutný speciální olej.
Spojka kompresoru:
1. přítlačný kotouč
2. Vymezovací podložka
3. Pojistný kroužek
4. řemenice
5. budící cívka
Mazání
V systému klimatizací s chladicím prostředkem R 134a se používá speciální syntetický olej s označením PAG (Poly-Alkylen-Glykol). Ten garantuje dobré mazací vlastnosti, mísitelnost s chladicím prostředkem, neobsahuje žádné kyseliny, je silně hygroskopický (pohlcuje vodu) a nemísí se s jinými oleji.
Co z toho vyplývá? Je nutné ho chránit proti vniknutí vlhkosti! Tento olej také nesmí být likvidován společně s motorovým nebo převodovým olejem. Množství oleje v systému závisí na konkrétním konstrukčním provedení. Pro vozy Ford Focus je množství chladícího média včetně oleje 0,740 kg (+/- 0,015 kg). Obecně lze konstatovat, že rozdělení oleje v systému klimatizace je zhruba následující:
• kompresor (50%)
• výparník (20%)
• kondenzátor (10%)
• vysoušeč (10%)
• sací hadice (10%)
Kondenzátor
Od kompresoru proudí horký a plynný chladicí prostředek do horní části kondenzátoru. Ten je konstruován podobně jako běžný chladič motoru. Kondenzátor představuje naohýbanou trubkou, která je obklopena hustou sítí plochých lamel a žebrování. Horký chladící prostředek se v kondenzátoru okolním proudícím vzduchem natolik ochladí, že na výstupu z kondenzátoru kondenzuje, tj. stává se opět kapalným. Chladící plocha kondenzátoru zajišťuje dobrý přestup tepla z chladicího prostředku do skrz ní proudícího vzduchu. Jeho proudění je při jízdě samočinné – náporové, navíc je podporované jedním nebo dvěma zpravidla elektrickými ventilátory. Kondenzační proces představuje, jak je zřejmé z části 1 tohoto materiálu, především teplotní výměnu mezi chladicím prostředkem a proudem vzduchu. Ten má relativně nízkou teplotu, pochopitelně o mnoho nižší, než horký, plynný chladicí prostředek.
Tepelná ztráta chladicího prostředku vede ke změně plynné fáze na kapalnou. Tlak chladícího prostředku při vstupu do kondenzátoru je sice stejný jako při výstupu, ale teplota prostředku je značně nižší. Kondenzátor musí být ochlazen okamžitě po zapnutí klimatizace, aby nebyl ohrožen oběh chladiva. Zásadně se montuje před konvenční chladič motoru. Výkon kondenzátoru závisí na řadě faktorů. Mezi podstatné patří:
• konstrukce kondenzátoru (tvar, rozměry, průměr základní trubky, tvar a
hustota žebrování, použitý materiál atd.)
• teplota okolí
• „kvalita“ vzduchu proudícího kondenzátorem
• čistota kondenzátoru
Při ucpání nebo větším znečištění kondenzátoru se logicky omezuje jeho účinnost a průchodnost pro proudící vzduch. Sekundárně to může negativně ovlivnit účinnost běžného chladiče motoru, který je namontován až za kondenzátor klimatizace. Kondenzátor klimatizace tvoří společný blok s jedním i dvěma ventilátory. Ty mají úlohu zajišťovat intenzivní proudění vzduchu skrz kondenzátor. Ventilátor se spouští s určitou počáteční rychlostí, která může být podle potřeby zvýšena, nebo připojen další ventilátor.
Kondenzátor Vysoušeč
Je to odvodňovací filtr a používá se pouze v systémech klimatizací s expanzním ventilem (komfortnější systémy mají škrtící ventil/trysku). Nalézá se mezi kondenzátorem a expanzním ventilem. Úlohou vysoušeče je:
• zadržení vlhkosti
• filtrace pevných nečistot (otěr z kompresoru, montážní nečistoty…)
• odstranění vzduchových bublin akumulací chladicího prostředku
Do vysoušeče proudí z kondenzátoru tekutý chladicí prostředek (1). Vysoušeč musí bezpodmínečně zabránit, aby se vlhkost v chladicím prostředku projevila v té míře, aby se kapičky vody dostaly v oběhu k expanznímu ventilu, kde by pak zmrzly v kousky ledu. Ty by pak mohly v systému působit jako blokující faktor. Ve vysoušeči je tudíž vysoušecí jednotka na bázi hlinité či křemičité substance (4), která představuje jakési molekulární sítko a samozřejmě také konvenční filtrační sítko. To zachycuje nepatrné mechanické nečistoty vzniklé zejména otěrem v kompresoru. Stoupacím vedením (6) odchází tekutý chladicí prostředek k odvodu (3) k expanznímu ventilu. Některé vysoušeče mají ve vyústění skleněný průhled (2). Vysoušeč musí být namontován vždy ve svislé poloze. Před montáží je nutno ho ponechat co nejdéle uzavřený, aby množství vlhkosti, které se dostane takto do vysoušeče, bylo co nejmenší.
Vysoušeč
1. vstupní vedení
2. průhledné okénko (jen některé typy)
3. výstupní vedení
4. vložka vysoušeče
5. kapalné chladivo
6. stoupací trubka
Klimatizace – anglicky „Air Condition“, odtud také označení ovladače „A/C“. Klimatizační systém přivádí do kabiny ochlazený vzduch. Vzduch je buď zvenku čerstvý, nebo je ochlazován (při zapnuté recirkulaci) vzduch z kabiny pro cestující. Chladící médium klimatizace v automobilech je plyn a funguje jako transportní prostředek pro odvod tepla. Od roku 1995 se smí používat pouze prostředek s označením R 134a.
R-134a (Tetrafluoretan) je používán jako náplň do klimatizací. Jedná se o nehořlavou látku, při i styku s ohněm se ale tvoří nebezpečné látky. V kapalném stavu je R134a čirá látka, v plynném skupenství pak neviditelná lehce eterického zápachu. Tato látka je v kapalném skupenství bezbarvá jako voda, ve skupenství plynném je neviditelná. Princip klimatizace ve vozidle je jednoduchý a velmi podobný ledničce. Aby se kabina ochladila, musí z ní být odebráno teplo. K tomu je zapotřebí chladící okruh, který se skládá z kompresoru, kondenzátoru, expanzního ventilu a výparníku. Popíšeme si celý oběh znázorněný na spodním obrázku.
Funkce klimatizace
Klimatizace se skládá z kompresoru, kondenzátoru, klapky, výparníku, zachycovací nádržky a tlakových vedení. Jako chladicí náplň se používá kapalina R134a. Kompresor klimatizace je poháněn klínovým řemenem od klikového hřídele. Kompresor zvyšuje tlak v chladícím okruhu na maximálně 3 MPa (30 bar). Stlačením se chladivo zahřeje. V kondenzátoru odebírá proudící vzduch z chladiva teplo (studený vzduch zůstává ve vnější oblasti). Ochlazuje tím horké chladivo, které kondenzuje, tedy zkapalní. Chladivo je pod vysokým tlakem a protéká klapkou, která redukuje jeho tlak. Chladivo expanduje a vypařuje se, a tím se znovu silně ochlazuje. Ve výparníku odebírá chladivo teplo od kolem proudícího vzduchu a vzduch se tak ochlazuje. Chladný a suchý vzduch je veden do vnitřku vozidla. Chladivo přijímá ve výparníku teplo a vypařuje se. Páry chladiva, které mají malý tlak, jsou nasávány kompresorem, kde znovu začíná chladící okruh. Zachycovací nádržka slouží jako expanzní nádržka a zásobní nádržka na chladivo.
Okruh klimatizace: Hlavní části:
• kompresor
• chladicí prostředek
• kondenzátor
• ventilátor
• výparník
• expanzní nebo škrtící ventil
• přípojka nízkého tlaku
• přípojka vysokého tlaku
• nádobka na kapalinu s vysoušečem
Základní komponenty klimatizace
Úkolem kompresoru je:
• čerpat chladivo do klimatického okruhu
• stlačovat chladivo
Kompresor je významnou součástí klimatizačního zařízení. Jeho úlohou je nasávat plynné chladící médium, které má nízký tlak, a toto médium stlačovat. Tím se jednak uvádí do pohybu, a také stoupá teplota chladícího prostředku. Bez zvýšení tlaku by nebyla možná následná expanze prostřednictvím expanzního nebo škrtícího ventilu a nedošlo by k ochlazení média. Je třeba si uvědomit, že kompresor nasává z výparníku v nízkotlaké větvi pouze plynný chladící prostředek. Tekutý by nebyl stlačitelný a ve svém důsledku by došlo ke zničení kompresoru. Okolnost, že kompresor stlačí chladící prostředek a dopravuje ho jako horký silně stlačený plyn do kondenzátoru, zároveň znamená, že kompresor je určitým rozhraním mezi větví nízkého a vysokého tlaku v klimatizačním systému.
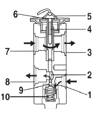
Kompresor s kývavým kotoučem – nejvyužívanější typ kompresoru
Na připojeném obrázku je řez typickým kompresorem s axiálním kývavým kotoučem. Ten má šikmé postavení a je pevně spojen s kompresorovou hřídelí. Po obvodu kotouče jsou rovnoměrně od sebe horizontálně uložené válce s písty (zpravidla jich je 5-7). Počet válců a úhel jejich uspořádání závisí na zdvihovém objemu kompresoru. Kývavý kotouč převádí rotační pohyb hřídele kompresoru do vratného zdvihového pohybu pístu (oscilační pohyb). Ve ventilových destičkách se mezi válci a hlavou válce nalézají tzv. Reed -ventily pro sání a výtlak.
Bubnové kompresory mohou mít pevný nebo proměnný zdvihový objem. Proměnný objem snižuje do značné míry konvenční zapínání a vypínání magnetické spojky a z něho vyplývající spínací rázy. Kompresory s proměnným zdvihem mají tlakový regulační ventil. Ten registruje tlak na sací straně a reguluje čerpané množství chladicího prostředku změnou úhlu sešikmení kývaného kotouče. Popisované nejběžnější provedení kompresoru klimatizace v automobilu se dále rozděluje na dvě skupiny:
• Kompresory bez regulace
• Kompresory s automatickou regulací
Kompresor:
1. Kývavý kotouč
2. Hřídel kompresoru
3. Píst
4. Membránové ventily
5. Tlakový regulační ventil
Posledně jmenovaný kompresor se uplatňuje u klimatizací s vyšším komfortem, např. s automatickou regulací teploty. Díky regulovatelnému kompresoru je tlak v oběhu chladícího prostředku stálý, zcela bez ohledu na měnící se přenos tepla a rozdílné otáčky motoru. Kompresory, které nejsou automaticky regulovatelné, se při teplot výparníku kolem bodu mrazu, vypnou. Klimatizace s takovými kompresory mají jako dodatkové vybavení expanzní ventil.
Kompresor s automatickou regulaci
Používají se v komfortnějších klimatizačních systémech se škrtícím ventilem. Jak už bylo uvedeno, mají regulační ventil, proměnné nastavení (zešikmení kývavého kotouče) bubnu a tím proměnný zdvih pístu, který je dán šikmostí kývavého kotouče. Ten je veden podélně v kluznici. Šikmost nastavení kotouče (hnacího náboje je dána tlakem v komoře), tedy na poměrech tlaku na horní a spodní straně pístu, a řídí se pružinami před a za kotoučem. Tlak v komoře je ovlivňován vysokým a nízkým tlakem v systému s kalibrovaným a škrtícím otvorem.
Kompresor nebývá poháněn přímo motorem vozidla. Většinou jde o pohon řemenem přímo od klikové hřídele. Řemen pohání ještě zpravidla alternátor, čerpadlo servořízení a vodní čerpadlo. Kompresor je spínaný přes elektromagnetickou spojku.
Elektromagnetická spojka kompresoru
Při zapnutí klimatizace je přiveden proud do cívky. Ta vytvoří magnetické pole, které přitáhne na hřídeli kompresoru pevně uchycený unášecí kotouč k řemenici kompresoru. Kompresor se tak roztočí, resp. dojde ke spojení náhonu od motoru s kompresorem.
Když je pak klimatizace vypnuta a dojde k přerušení přívodu proudu do elektromagnetické cívky, přitažení unášecího kotouče povolí a kompresor se přestane točit. Vzduchová mezera kompresorové spojky se u některých provedení vymezuje distančními kroužky. Cívka je zajištěna zajišťovacím kroužkem. Velmi důležité je řádné mazání kompresoru. Pro mazání stěn válce je nutný speciální olej.
Spojka kompresoru:
1. přítlačný kotouč
2. Vymezovací podložka
3. Pojistný kroužek
4. řemenice
5. budící cívka
Mazání
V systému klimatizací s chladicím prostředkem R 134a se používá speciální syntetický olej s označením PAG (Poly-Alkylen-Glykol). Ten garantuje dobré mazací vlastnosti, mísitelnost s chladicím prostředkem, neobsahuje žádné kyseliny, je silně hygroskopický (pohlcuje vodu) a nemísí se s jinými oleji.
Co z toho vyplývá? Je nutné ho chránit proti vniknutí vlhkosti! Tento olej také nesmí být likvidován společně s motorovým nebo převodovým olejem. Množství oleje v systému závisí na konkrétním konstrukčním provedení. Pro vozy Ford Focus je množství chladícího média včetně oleje 0,740 kg (+/- 0,015 kg). Obecně lze konstatovat, že rozdělení oleje v systému klimatizace je zhruba následující:
• kompresor (50%)
• výparník (20%)
• kondenzátor (10%)
• vysoušeč (10%)
• sací hadice (10%)
Kondenzátor
Od kompresoru proudí horký a plynný chladicí prostředek do horní části kondenzátoru. Ten je konstruován podobně jako běžný chladič motoru. Kondenzátor představuje naohýbanou trubkou, která je obklopena hustou sítí plochých lamel a žebrování. Horký chladící prostředek se v kondenzátoru okolním proudícím vzduchem natolik ochladí, že na výstupu z kondenzátoru kondenzuje, tj. stává se opět kapalným. Chladící plocha kondenzátoru zajišťuje dobrý přestup tepla z chladicího prostředku do skrz ní proudícího vzduchu. Jeho proudění je při jízdě samočinné – náporové, navíc je podporované jedním nebo dvěma zpravidla elektrickými ventilátory. Kondenzační proces představuje, jak je zřejmé z části 1 tohoto materiálu, především teplotní výměnu mezi chladicím prostředkem a proudem vzduchu. Ten má relativně nízkou teplotu, pochopitelně o mnoho nižší, než horký, plynný chladicí prostředek.
Tepelná ztráta chladicího prostředku vede ke změně plynné fáze na kapalnou. Tlak chladícího prostředku při vstupu do kondenzátoru je sice stejný jako při výstupu, ale teplota prostředku je značně nižší. Kondenzátor musí být ochlazen okamžitě po zapnutí klimatizace, aby nebyl ohrožen oběh chladiva. Zásadně se montuje před konvenční chladič motoru. Výkon kondenzátoru závisí na řadě faktorů. Mezi podstatné patří:
• konstrukce kondenzátoru (tvar, rozměry, průměr základní trubky, tvar a
hustota žebrování, použitý materiál atd.)
• teplota okolí
• „kvalita“ vzduchu proudícího kondenzátorem
• čistota kondenzátoru
Při ucpání nebo větším znečištění kondenzátoru se logicky omezuje jeho účinnost a průchodnost pro proudící vzduch. Sekundárně to může negativně ovlivnit účinnost běžného chladiče motoru, který je namontován až za kondenzátor klimatizace. Kondenzátor klimatizace tvoří společný blok s jedním i dvěma ventilátory. Ty mají úlohu zajišťovat intenzivní proudění vzduchu skrz kondenzátor. Ventilátor se spouští s určitou počáteční rychlostí, která může být podle potřeby zvýšena, nebo připojen další ventilátor.
Kondenzátor Vysoušeč
Je to odvodňovací filtr a používá se pouze v systémech klimatizací s expanzním ventilem (komfortnější systémy mají škrtící ventil/trysku). Nalézá se mezi kondenzátorem a expanzním ventilem. Úlohou vysoušeče je:
• zadržení vlhkosti
• filtrace pevných nečistot (otěr z kompresoru, montážní nečistoty…)
• odstranění vzduchových bublin akumulací chladicího prostředku
Do vysoušeče proudí z kondenzátoru tekutý chladicí prostředek (1). Vysoušeč musí bezpodmínečně zabránit, aby se vlhkost v chladicím prostředku projevila v té míře, aby se kapičky vody dostaly v oběhu k expanznímu ventilu, kde by pak zmrzly v kousky ledu. Ty by pak mohly v systému působit jako blokující faktor. Ve vysoušeči je tudíž vysoušecí jednotka na bázi hlinité či křemičité substance (4), která představuje jakési molekulární sítko a samozřejmě také konvenční filtrační sítko. To zachycuje nepatrné mechanické nečistoty vzniklé zejména otěrem v kompresoru. Stoupacím vedením (6) odchází tekutý chladicí prostředek k odvodu (3) k expanznímu ventilu. Některé vysoušeče mají ve vyústění skleněný průhled (2). Vysoušeč musí být namontován vždy ve svislé poloze. Před montáží je nutno ho ponechat co nejdéle uzavřený, aby množství vlhkosti, které se dostane takto do vysoušeče, bylo co nejmenší.
Vysoušeč
1. vstupní vedení
2. průhledné okénko (jen některé typy)
3. výstupní vedení
4. vložka vysoušeče
5. kapalné chladivo
6. stoupací trubka
Naposledy upravil(a) Jemar dne 01.03.2009 03:52, celkem upraveno 4 x.
- Jemar
- Zkušený

- Příspěvky: 1699
- Registrován: 02.02.2008 03:18
- Bydliště: čáslavsko
Re: Klimatizace
Expanzní ventil
Expanzní ventil se používá u klimatizací, které pracují s nízkými tlaky, a kompresor není automaticky regulován. Je u místěn mezi vysoušečem a výparníkem. Tvoří tak rozhraní mezi vysoko a nízkotlakou částí klimatizačního okruhu. Rozprašuje tekutý chladicí prostředek a reguluje průtočné množství k výpadníku tak, aby se plně změnil do plynného stavu až u výstupu z výparníku. Pro kompresor je nezbytné, jak již bylo uvedeno, aby nasával chladicí prostředek pouze v plynném stavu. V zásadě lze expanzní ventil rozdělit na ventily s oddělovacím ventilem a s vnitřní nebo vnější regulací a na ventily s termostatickým ventilem.
Funkce expanzního ventilu s oddělovacím ventilem s vnější regulací je patrná z připojeného obrázku. Důležitým komponentem takového ventilu je membrána (5). Na ní z jedné strany působí tlak z výparníku vystupující páry, z druhé strany tlak prchavé kapaliny (fluida), která mění svůj objem v závislosti na teplotě. Od vysoušeče proudící chladicí prostředek protéká v přesně dávkovaném množství skrz spodní otvor (1). Množství reguluje senzor (4) a komůrka s popsanou membránou. Senzor sleduje teplotu chladicího prostředku (7) vystupujícího z výparníku. Stoupne-li teplota, ohřeje se fluidum v membránové komůrce. Tím se roztáhne a membrána zatlačí na posuvnou část ventilu (2), který odtlačuje proti tlaku pružiny (10) kuličku (9) ze svého sedla. Tím se zvýší přítok chladicího prostředku do výparníku (8). Ventil se uzavře, jakmile teplota ve výparníku klesne a chladicí prostředek v membránové komoře se ochladí. Přes přípojku (3) se dostává chladicí prostředek ke kompresoru. Expanzní ventil s oddělovacím ventilem s vnitřní regulací disponuje také membránou, která je ovládána prchavou kapalinou (fluidem). Membrána je umístěna v kapse přímo při vyústění chladicího prostředku z výparníku. Fluidum mění svůj objem v závislosti na teplotě z výparníku vystupujícího plynného chladicího prostředku. Membrána tak reguluje průtočné množství chladícího prostředku tlakem na kuličku ventilu prostřednictvím ventilové tyčky. Tento typ ventilu má výhodu v tom, že měří teplotu uvnitř vedení. Tím reaguje rychleji na teplotní změny a není tak ovlivňován vnější teplotou.
Termostatický ventil je osazen teplotní sondou a nalézá se přímo na vtoku chladicího prostředku do výparníku. Jeho funkce je patrná na obrázku. Tekutý chladicí prostředek od vysoušeče proudí pod vysokým tlakem skrz připojení (4) do ventilu (6) a dále vývodem (5) do výparníku. Teplotní sonda (2) je umístěna na nízkotlakém vedení. Při stoupající teplotě se ohřeje tekutý chladicí prostředek obklopující membránu. Roztáhne se a membrána zatlačí na ventil uzavřený původně tlakem pružiny. Tím se zvýší průtok chladicího prostředku k výparníku (5). Ventil se uzavře, až klesne teplota ve výparníku a chladící prostředek se ochladí. Pomocí vyrovnávacího vedení (1) se eliminuje kolísání tlaku na výstupu. U některých typů expanzních ventilů se toto vedení montuje na sací stranu, zatímco jiné typy používají vnitřní vrtání. Expanzní ventily jsou z výroby nastavené a to nesmí být měněno. Nejsou seřizovatelné a v případě poruchy se musí jako kompletní jednotka vyměnit. Expanzní ventil:
1. spodní otvor
2. tyčka ventilu
3. přípojka
4. snímač
5. membrána
6. membránová komora
7. přívod od výparníku
8. přívod chladiva do výparníku
9. Kulička
10. Pružina
Škrtící ventil / tryska
Škrtící ventily se používají u komfortnějších systémů klimatizací s automatickou regulací. Slouží v podstatě stejnému účelu jako expanzní ventil. To znamená, že přestavují druhé rozhraní mezi vysoko a nízkotlakou částí klimatizačního systému. Musí určovat průtočné množství chladícího prostředku, což se děje pomocí kalibrovaného otvoru. Tím může protékat pouze tlak odpovídající množství chladicího prostředku. Musí dále udržovat stabilní tlak ve vysokotlaké části okruhu a tím i chladící prostředek v tekutém stavu. V neposlední řadě musí garantovat zmenšení tlaku chladicího prostředku na nízký tlak. Při výstupu z trysky se medium rozpráší, částečným odpařením ochladí a to ještě před vstupem do výparníku. Z připojeného obrázku je blíže patrná funkce škrtícího ventilu/trysky. Tekutý chladící prostředek (1) proudí od kondenzátoru pod vysokým tlakem ke vstupu do škrtícího ventilu (3). Dva O-kroužky (4) zabraňují, aby prostředek obtekl
trysku. Filtr na vtokové straně (2) zajišťuje, aby nedošlo k zablokování trysky. Sítko na
výtokové straně (5) rozprašuje chladicí prostředek dříve, než se dostane do výparníku (6). Vnitřní průměr trysky se liší dle typu vozidla/klimatizace. Trysky mají zpravidla svoje barvy, které udávají kalibraci otvoru. Pochopitelně, že ke konkrétnímu škrticímu ventilu patří správná tryska. Jestli ale dojde k poškození kompresoru, mohou kovové částečky snadno zablokovat jak trysku ventilu, tak filtr. Pak je nutné trysku vyčistit nebo vyměnit. Škrtící ventil/tryska nezajišťuje naprosté zplynování tekutého chladicího prostředku ve výparníku. Z tohoto důvodu se v okruhu nachází sběrná nádobka/vysoušeč.
Škrticí ventil
1. kapalné chladivo
2. filtr na vstupní straně
3. tryska
4. 2 O-kroužky
5. sítko
6. rozprášené chladivo, do výparníku
Výparník
Ve výparníku se z expanzního/ škrticího ventilu proudící chladicí prostředek ve formě nasycené páry změní v teplejší páru přehřátou. Přijímá přitom teplo a tím ochlazuje okolí
– v daném případě vnitřek vozidla. Nejde ale jen o ochlazení, ale také o vysušení a vyčištění do interiéru vháněného vzduchu. Ze vzduchu se totiž, ještě než se dostane do prostoru pro osádku vozidla, vysráží/kondenzuje vzdušná vlhkost a ve formě vody je odváděna do výparníku vně vozidla. Teplota uvnitř výparníku musí byt regulována, aby se mezi jeho lamelami netvořil led. To by zablokovalo proudění vzduchu přes výparník. Při případném zamrznutí výparníku je oběh chladicího prostředku jen nepatrný. Také mazání
kompresoru je tudíž nedostatečné. Čidlo na výparníku na tento stav reaguje vypnutím kompresoru. Výparník poté roztaje. Na připojeném obrázku je patrné, jak je vzduch z okolí (A) vháněn přes lamely výparníku (3) pomocí elektrického ventilátoru (4). Vzduch ochlazený na lamelách (B) žene ventilační turbinka dovnitř vozidla. Rychlost proudění lze elektrickou cestou regulovat v několika stupních. Do výparníku se dostává chladicí prostředek ve stavu studené, tekuté i plynné směsi (1). Výparník pak opouští v plynném stavu a je následně nasáván kompresorem (2). Konstrukčně je výparník vytvořen zejména z měděných trubiček a hliníkových lamel/ žeber. Je namontován zpravidla ve skříni topení. Některé automobily mají dokonce dva výparníky. Jeden v přední části vozu, druhý vzadu pro zadní prostor uvnitř vozidla. Výparník
1. přívod chladiva
2. odvod chladiva
3. lamely výparníku
4. elektrický větrák
A. vzduch
B. vzduch vháněn do kabiny
Sekundární komponenty klimatizace
Tlakový spínač:
Nachází se v oblasti vysokého tlaku mezi kondenzátorem a expanzním ventilem. V cca 90% vozů je připevněn na vstupní straně vysoušeče. Tlakový spínač je kontrolním prvkem, který zapíná a vypíná kompresor.
Druhy tlakových spínačů:
• 1bodový tlakový spínač – hlídá pouze vysoký tlak (maximálně cca. 27 barů)
• 2bodový tlakový spínač – hlídá tlak a nedostatek chladiva (minimálně cca. 2 bary)
• 3bodový tlakový spínač – hlídá vysoký tlak, nedostatek chladiva a zapíná ventilátor
Sonda výparníku:
Sonda výparníku je pojistný prvek, který zabraňuje namrzání výparníku. Definice:
Sonda výparníku vypíná kompresor.
Spínací teplota: vypnuto cca. -1oC
Zapnuto cca. +4Oc
Seznam použité literatury:
Autodata-Klimatizace vozidel-vydal-Autoservic akademie s.r.o.
HOREJŠ, K. MOTEJL, V Učebnice pro opraváře automobilů. Brno: Littera, 2004,
http://www.wikipedia.org
Expanzní ventil se používá u klimatizací, které pracují s nízkými tlaky, a kompresor není automaticky regulován. Je u místěn mezi vysoušečem a výparníkem. Tvoří tak rozhraní mezi vysoko a nízkotlakou částí klimatizačního okruhu. Rozprašuje tekutý chladicí prostředek a reguluje průtočné množství k výpadníku tak, aby se plně změnil do plynného stavu až u výstupu z výparníku. Pro kompresor je nezbytné, jak již bylo uvedeno, aby nasával chladicí prostředek pouze v plynném stavu. V zásadě lze expanzní ventil rozdělit na ventily s oddělovacím ventilem a s vnitřní nebo vnější regulací a na ventily s termostatickým ventilem.
Funkce expanzního ventilu s oddělovacím ventilem s vnější regulací je patrná z připojeného obrázku. Důležitým komponentem takového ventilu je membrána (5). Na ní z jedné strany působí tlak z výparníku vystupující páry, z druhé strany tlak prchavé kapaliny (fluida), která mění svůj objem v závislosti na teplotě. Od vysoušeče proudící chladicí prostředek protéká v přesně dávkovaném množství skrz spodní otvor (1). Množství reguluje senzor (4) a komůrka s popsanou membránou. Senzor sleduje teplotu chladicího prostředku (7) vystupujícího z výparníku. Stoupne-li teplota, ohřeje se fluidum v membránové komůrce. Tím se roztáhne a membrána zatlačí na posuvnou část ventilu (2), který odtlačuje proti tlaku pružiny (10) kuličku (9) ze svého sedla. Tím se zvýší přítok chladicího prostředku do výparníku (8). Ventil se uzavře, jakmile teplota ve výparníku klesne a chladicí prostředek v membránové komoře se ochladí. Přes přípojku (3) se dostává chladicí prostředek ke kompresoru. Expanzní ventil s oddělovacím ventilem s vnitřní regulací disponuje také membránou, která je ovládána prchavou kapalinou (fluidem). Membrána je umístěna v kapse přímo při vyústění chladicího prostředku z výparníku. Fluidum mění svůj objem v závislosti na teplotě z výparníku vystupujícího plynného chladicího prostředku. Membrána tak reguluje průtočné množství chladícího prostředku tlakem na kuličku ventilu prostřednictvím ventilové tyčky. Tento typ ventilu má výhodu v tom, že měří teplotu uvnitř vedení. Tím reaguje rychleji na teplotní změny a není tak ovlivňován vnější teplotou.
Termostatický ventil je osazen teplotní sondou a nalézá se přímo na vtoku chladicího prostředku do výparníku. Jeho funkce je patrná na obrázku. Tekutý chladicí prostředek od vysoušeče proudí pod vysokým tlakem skrz připojení (4) do ventilu (6) a dále vývodem (5) do výparníku. Teplotní sonda (2) je umístěna na nízkotlakém vedení. Při stoupající teplotě se ohřeje tekutý chladicí prostředek obklopující membránu. Roztáhne se a membrána zatlačí na ventil uzavřený původně tlakem pružiny. Tím se zvýší průtok chladicího prostředku k výparníku (5). Ventil se uzavře, až klesne teplota ve výparníku a chladící prostředek se ochladí. Pomocí vyrovnávacího vedení (1) se eliminuje kolísání tlaku na výstupu. U některých typů expanzních ventilů se toto vedení montuje na sací stranu, zatímco jiné typy používají vnitřní vrtání. Expanzní ventily jsou z výroby nastavené a to nesmí být měněno. Nejsou seřizovatelné a v případě poruchy se musí jako kompletní jednotka vyměnit. Expanzní ventil:
1. spodní otvor
2. tyčka ventilu
3. přípojka
4. snímač
5. membrána
6. membránová komora
7. přívod od výparníku
8. přívod chladiva do výparníku
9. Kulička
10. Pružina
Škrtící ventil / tryska
Škrtící ventily se používají u komfortnějších systémů klimatizací s automatickou regulací. Slouží v podstatě stejnému účelu jako expanzní ventil. To znamená, že přestavují druhé rozhraní mezi vysoko a nízkotlakou částí klimatizačního systému. Musí určovat průtočné množství chladícího prostředku, což se děje pomocí kalibrovaného otvoru. Tím může protékat pouze tlak odpovídající množství chladicího prostředku. Musí dále udržovat stabilní tlak ve vysokotlaké části okruhu a tím i chladící prostředek v tekutém stavu. V neposlední řadě musí garantovat zmenšení tlaku chladicího prostředku na nízký tlak. Při výstupu z trysky se medium rozpráší, částečným odpařením ochladí a to ještě před vstupem do výparníku. Z připojeného obrázku je blíže patrná funkce škrtícího ventilu/trysky. Tekutý chladící prostředek (1) proudí od kondenzátoru pod vysokým tlakem ke vstupu do škrtícího ventilu (3). Dva O-kroužky (4) zabraňují, aby prostředek obtekl
trysku. Filtr na vtokové straně (2) zajišťuje, aby nedošlo k zablokování trysky. Sítko na
výtokové straně (5) rozprašuje chladicí prostředek dříve, než se dostane do výparníku (6). Vnitřní průměr trysky se liší dle typu vozidla/klimatizace. Trysky mají zpravidla svoje barvy, které udávají kalibraci otvoru. Pochopitelně, že ke konkrétnímu škrticímu ventilu patří správná tryska. Jestli ale dojde k poškození kompresoru, mohou kovové částečky snadno zablokovat jak trysku ventilu, tak filtr. Pak je nutné trysku vyčistit nebo vyměnit. Škrtící ventil/tryska nezajišťuje naprosté zplynování tekutého chladicího prostředku ve výparníku. Z tohoto důvodu se v okruhu nachází sběrná nádobka/vysoušeč.
Škrticí ventil
1. kapalné chladivo
2. filtr na vstupní straně
3. tryska
4. 2 O-kroužky
5. sítko
6. rozprášené chladivo, do výparníku
Výparník
Ve výparníku se z expanzního/ škrticího ventilu proudící chladicí prostředek ve formě nasycené páry změní v teplejší páru přehřátou. Přijímá přitom teplo a tím ochlazuje okolí
– v daném případě vnitřek vozidla. Nejde ale jen o ochlazení, ale také o vysušení a vyčištění do interiéru vháněného vzduchu. Ze vzduchu se totiž, ještě než se dostane do prostoru pro osádku vozidla, vysráží/kondenzuje vzdušná vlhkost a ve formě vody je odváděna do výparníku vně vozidla. Teplota uvnitř výparníku musí byt regulována, aby se mezi jeho lamelami netvořil led. To by zablokovalo proudění vzduchu přes výparník. Při případném zamrznutí výparníku je oběh chladicího prostředku jen nepatrný. Také mazání
kompresoru je tudíž nedostatečné. Čidlo na výparníku na tento stav reaguje vypnutím kompresoru. Výparník poté roztaje. Na připojeném obrázku je patrné, jak je vzduch z okolí (A) vháněn přes lamely výparníku (3) pomocí elektrického ventilátoru (4). Vzduch ochlazený na lamelách (B) žene ventilační turbinka dovnitř vozidla. Rychlost proudění lze elektrickou cestou regulovat v několika stupních. Do výparníku se dostává chladicí prostředek ve stavu studené, tekuté i plynné směsi (1). Výparník pak opouští v plynném stavu a je následně nasáván kompresorem (2). Konstrukčně je výparník vytvořen zejména z měděných trubiček a hliníkových lamel/ žeber. Je namontován zpravidla ve skříni topení. Některé automobily mají dokonce dva výparníky. Jeden v přední části vozu, druhý vzadu pro zadní prostor uvnitř vozidla. Výparník
1. přívod chladiva
2. odvod chladiva
3. lamely výparníku
4. elektrický větrák
A. vzduch
B. vzduch vháněn do kabiny
Sekundární komponenty klimatizace
Tlakový spínač:
Nachází se v oblasti vysokého tlaku mezi kondenzátorem a expanzním ventilem. V cca 90% vozů je připevněn na vstupní straně vysoušeče. Tlakový spínač je kontrolním prvkem, který zapíná a vypíná kompresor.
Druhy tlakových spínačů:
• 1bodový tlakový spínač – hlídá pouze vysoký tlak (maximálně cca. 27 barů)
• 2bodový tlakový spínač – hlídá tlak a nedostatek chladiva (minimálně cca. 2 bary)
• 3bodový tlakový spínač – hlídá vysoký tlak, nedostatek chladiva a zapíná ventilátor
Sonda výparníku:
Sonda výparníku je pojistný prvek, který zabraňuje namrzání výparníku. Definice:
Sonda výparníku vypíná kompresor.
Spínací teplota: vypnuto cca. -1oC
Zapnuto cca. +4Oc
Seznam použité literatury:
Autodata-Klimatizace vozidel-vydal-Autoservic akademie s.r.o.
HOREJŠ, K. MOTEJL, V Učebnice pro opraváře automobilů. Brno: Littera, 2004,
http://www.wikipedia.org
- Jemar
- Zkušený

- Příspěvky: 1699
- Registrován: 02.02.2008 03:18
- Bydliště: čáslavsko
Re: Klimatizace
Jestli má váš Focus klimatizaci, lze na první pohled poznat podle tohoto štítku:
Nachází se na předním čele motorového prostoru, kousek od zámku kapoty. Je na něm uvedeno množství chladícího média (R 134a - chlazení + PAG olej - mazání). To je 0,740 kg +/- 0,015 kg. dále specifikace Fordu a Bezpečnostní standardy pro motorová vozidla Refrigerant par Compresssions systémy (SAE J639).
R 134 vyžaduje zvýšenou pozornost při manipulaci s ním (viz. bezpečnostní list).
Při návštěvě neznačkového servisu se mi stalo, že mechanici nevěděli, kde jsou plnící ventily klimatizace. Nemačkat ventily, neupouštět médium, při rychlém odpouštění hrozí omrzliny ! První (větev vysokého tlaku) je na pravé straně chladiče (pohled čelem k motoru): Druhý plnící ventil (větev nízkého tlaku) se nachází na baňce sušiče, který je umístěn nad plastovým podběhem pravého předního blatníku (ve směru jízdy). Přístupný je po odmontování podběhu kola. Při doplňování klimatizace doporučuji servis, který má kvalitní plnící zařízení, na displeji se zadá typ a značka vozu, v paměti je uloženo množství chladícího prostředku spolu s olejem, nastaví se program a pak stroj sám provede všechny potřebné operace sám. Tzn. odsátí média z okruhu klimatizace, vakuování (okruh se zbaví vlhkosti a zkouší se na těsnost), poté rafinace použitého média, doplnění média a zpětné napuštění a natlakování klimatizace. Celé to trvalo asi hodinu a stálo obvyklou cenu (800-900 Kč).
R 134 vyžaduje zvýšenou pozornost při manipulaci s ním (viz. bezpečnostní list).
Při návštěvě neznačkového servisu se mi stalo, že mechanici nevěděli, kde jsou plnící ventily klimatizace. Nemačkat ventily, neupouštět médium, při rychlém odpouštění hrozí omrzliny ! První (větev vysokého tlaku) je na pravé straně chladiče (pohled čelem k motoru): Druhý plnící ventil (větev nízkého tlaku) se nachází na baňce sušiče, který je umístěn nad plastovým podběhem pravého předního blatníku (ve směru jízdy). Přístupný je po odmontování podběhu kola. Při doplňování klimatizace doporučuji servis, který má kvalitní plnící zařízení, na displeji se zadá typ a značka vozu, v paměti je uloženo množství chladícího prostředku spolu s olejem, nastaví se program a pak stroj sám provede všechny potřebné operace sám. Tzn. odsátí média z okruhu klimatizace, vakuování (okruh se zbaví vlhkosti a zkouší se na těsnost), poté rafinace použitého média, doplnění média a zpětné napuštění a natlakování klimatizace. Celé to trvalo asi hodinu a stálo obvyklou cenu (800-900 Kč).
Naposledy upravil(a) Jemar dne 01.03.2009 20:10, celkem upraveno 1 x.
- Jemar
- Zkušený

- Příspěvky: 1699
- Registrován: 02.02.2008 03:18
- Bydliště: čáslavsko
Re: Klimatizace
Další důležité komponenty jsou:
elektromagnetická spojka, která zajišťuje pohon kompresoru při zapnutí klimatizace a vlastní kompresor (s kývavým kotoučem - viz. 1 příspěvek).
Dalšími důležitými komponentami jsou čidla tlaku: Čidlo nízkého tlaku se nachází na přepážce motorového prostoru a přístrojové desky na větvi vedoucí od výparníku ke kompresoru. Toto čidlo se nachází v blízkosti sušiče v blatníku PP kola. Je přístupné po odmontování plastového podběhu.
Poslední důležitou součástí je škrtící ventil (funkce viz. předchozí příspěvek) Škrtící ventil je taktéž na přepážce motorový prostor - přístrojová deska a vlastní ventil je uvnitř trubky vedoucí k výparníku a vypadá takto:
Dalšími důležitými komponentami jsou čidla tlaku: Čidlo nízkého tlaku se nachází na přepážce motorového prostoru a přístrojové desky na větvi vedoucí od výparníku ke kompresoru. Toto čidlo se nachází v blízkosti sušiče v blatníku PP kola. Je přístupné po odmontování plastového podběhu.
Poslední důležitou součástí je škrtící ventil (funkce viz. předchozí příspěvek) Škrtící ventil je taktéž na přepážce motorový prostor - přístrojová deska a vlastní ventil je uvnitř trubky vedoucí k výparníku a vypadá takto:
- demarko
- Nováček

- Příspěvky: 2
- Registrován: 26.05.2009 07:44
- Bydliště: Trnava
Re: Klimatizace
super clanok
pridavam zoznam kompresorov: http://www.google.sk/url?sa=t&source=we ... VVVpEWIoXg
napr ja mam AC313 - FoFoI 1.8TDCi, 2003
pridavam zoznam kompresorov: http://www.google.sk/url?sa=t&source=we ... VVVpEWIoXg
napr ja mam AC313 - FoFoI 1.8TDCi, 2003
FFI Combi 1.8 TDCi 85 kW 2003.
Nissan Terrano 2, 2,7 TDi 92 kW, 2002
Nissan Terrano 2, 2,7 TDi 92 kW, 2002
- Single Ou
- Nováček

- Příspěvky: 10
- Registrován: 08.06.2010 12:11
- Bydliště: Ráječko
Re: Klimatizace
Zdravím, měl někdo kompresor na klimu v takovém stavu ,že ho musel přetěsňovat? Muj kompresor má netěsnost v přírubě. Pomale uniká chladící směs , ještě chladí ale radši zavčas ho chci přetěsnit. Je tam těsnění nebo je to iba na tmel ten spoj. ?
Ford Focus 1.8 TDCi 85 kw
12. 2001
12. 2001
-
čert
- Nováček

- Příspěvky: 33
- Registrován: 16.04.2011 07:54
- Bydliště: Praha, Trstěnice (SY)
- Kontaktovat uživatele:
Re: Klimatizace
Zdravím, prosím o informaci co je toto za čidlo nebo co to je, viz obr - červeně označeno
Je to Ford Focus 06/2004 1.8TDCi
Děkuji
Je to Ford Focus 06/2004 1.8TDCi
Děkuji
Ford Focus 1.8TDCi 74kW Ghia, r.v.2004, tmavě modrá
- mirec_pn
- Nováček

- Příspěvky: 64
- Registrován: 17.08.2012 10:20
- Bydliště: Trnava
Re: Klimatizace
Nikde som to nenasiel, ale ako chladi klimatizacia na Ford Focuse II oproti inym znackam?
Ake mate skusenosti?
Ake mate skusenosti?
- PaulP
- Pokročilý

- Příspěvky: 729
- Registrován: 26.05.2012 22:23
- Bydliště: Praha
- Kontaktovat uživatele:
Re: Klimatizace
Skvělá práce. Teď už na to nemám, ale o víkendu si to přeštu. Díky! 
FieSTa ST, -38 Kg, Coil. AP Sport., Yokohama Advan Neova AD08R, Ferodo Racing DS2500, 4-b. pásy, Catback Jap Parts, Decat, Chlaz. serva D1 Spec + Millers, Cust. Carbon Intake, Silent. převodovky Powerflex, Perf. Blue, Pruhy.
- puko
- Nováček

- Příspěvky: 73
- Registrován: 20.02.2013 09:45
- Bydliště: Brno
Re: Klimatizace
Mna by zaujimalo, ci sa system klimatizacie spusta pri zapnutej automatickej regulacii klimy aj ked je vonkajsia teplota nizsia ako teplota nastavena na ovladani klimy
Mozno sa to v tom clanku docitam, ale teraz to uz tiez nedam
Mozno sa to v tom clanku docitam, ale teraz to uz tiez nedam
- rapo
- Nováček

- Příspěvky: 113
- Registrován: 10.10.2010 14:02
- Bydliště: Praha
Re: Klimatizace
Tusite nekdo jestli kdyz prudce/hodne pridam plyn tak se na nejakou dobu vypne klimatizace? Jde mi o to jestli kdyz potrebuju vykon tak jestli ma smysl rucne vypnout klimu nebo jestli auto samo pozna ze potrebuju jet a kompresor odpoji. Slysel jsem ze skodovky to delaji (info bez zaruky). Predpokladam, ze u slabsich motoru jako mam ja, by to melo byt znat, nicmene se mi to nijak nepovedlo vypozorovat.
Mondeo Mk5 Titanium Combi 2017, 2.0 TDCi
Focus II Trend Plus Combi 2010, 1.6 74kW (prodáno)
Focus II Trend Plus Combi 2010, 1.6 74kW (prodáno)
-
stano.
- Člen klubu

- Příspěvky: 13616
- Registrován: 18.07.2011 19:55
Re: Klimatizace
Na FoFo I vypina. Na 1.4 to je citit. Na 1.8 ani velmi nie.
- miki21
- Test driver

- Příspěvky: 13532
- Registrován: 01.04.2009 18:21
- Bydliště: Třinec
Re: Klimatizace
Při plném plynu zaznamená jednotka požadavek na max výkon a klimu odstaví. Tak to funguje u FF I a nevidím důvod, proč ne u II.
Fofo II 1,8 16v modrá combi
Funguje zde funkce HLEDAT Prosím,používejte ji před založením nového tématu.
Funguje zde funkce HLEDAT Prosím,používejte ji před založením nového tématu.
-
I__C__E
- Nováček

- Příspěvky: 124
- Registrován: 01.05.2010 23:07
Re: Klimatizace
Ahoj,jak vypadá teplotní čidlo v interiéru FF1 s aut.klimou?
-
lu2
- Nováček

- Příspěvky: 73
- Registrován: 04.08.2015 08:15
Netěsný kompresor klimatizace
Zdarec!
Koupil jsem FoFo I 1,6 s funkční klimou, kterou zřejmě dlouho nikdo nepoužíval (v systému bylo cca 45% chladiva). Nechal jsem doplnit chladivo a po cca 3 dnech prázdno. Pánové v servisu prosvítili spodek auta a netěsnost nalezli na kompresoru kolem řemenice. Nemáte někdo zkušenost s přetěsňováním kompresoru příp. s výměnou za použitý? Na co si dát pozor? Ocením každou radu. Díky.
Koupil jsem FoFo I 1,6 s funkční klimou, kterou zřejmě dlouho nikdo nepoužíval (v systému bylo cca 45% chladiva). Nechal jsem doplnit chladivo a po cca 3 dnech prázdno. Pánové v servisu prosvítili spodek auta a netěsnost nalezli na kompresoru kolem řemenice. Nemáte někdo zkušenost s přetěsňováním kompresoru příp. s výměnou za použitý? Na co si dát pozor? Ocením každou radu. Díky.
Lu2
Současnost: FORD S-Max mk1 (2007) 2.5T 162 kW
Současnost: FORD Mondeo mk3 (2004) 2.0i 107 kW + LPG (King + Tomasetto)
Minulost: 3x FORD Focus mk1 (1998, 2001, 2003) 1.6i 74 kW
Současnost: FORD S-Max mk1 (2007) 2.5T 162 kW
Současnost: FORD Mondeo mk3 (2004) 2.0i 107 kW + LPG (King + Tomasetto)
Minulost: 3x FORD Focus mk1 (1998, 2001, 2003) 1.6i 74 kW
Kdo je online
Uživatelé prohlížející si toto fórum: Žádní registrovaní uživatelé a 2 hosti


